Назначение
Бустерные трансформаторы (линейные регуляторы) используются для регулирования напряжения в отдельных линиях или в группе линий. Они используются, например, для улучшения работы сетей с трансформаторами без регулирования нагрузки. Линейные регуляторы позволяют создавать в сети дополнительную ЭДС, которая добавляется к вектору напряжения сети и изменяет его. На рис. 1 представлена принципиальная схема повышающего трансформатора (линейного регулятора).
Рисунок 1 — Схематическое изображение линейного регулятора
Установка вольтодобавочного трансформатора позволяет выровнять напряжение в электрической сети; устранить перекос напряжений на заданном участке цепи; для уменьшения опасных последствий перегорания нейтрального проводника.
Техническое обслуживание

Техническое обслуживание Особенностью и гусеничных, и колесных тракторов является их простое обслуживание. Данная техника предназначена для эксплуатации на протяжении длительного периода времени. Перед каждым выездом следует проверять и, при необходимости, доливать топливо, охлаждающую жидкость и масло, проверять работоспособность тормозной и рулевой системы, заряд аккумулятора.
Замена моторного масла должна происходить спустя 500 часов эксплуатации. Летом рекомендуется использовать масло марки М-10Г2к, в зимнее время — М-10ДМ. Трансмиссионное масло подлежит замене один раз в год, перед началом эксплуатации или через 1000 отработанных часов.
Основные виды неисправностей
Многие владельцы трактора Т-150 отмечают проблему с карданной передачей.
Если идет большой нагрев этого узла:
Проверьте радиальный зазор в игольчатых подшипниках.
- Если зазор более 0,5 мм, то необходимо заменить крестовину вместе с подшипниками.
- Если он менее 0,5 мм., то просто дополнительно смажьте этот узел.
Если идет радиальное биение карданных валов:
Проверьте отсутствие подвижности в радиальном направлении фланцев коробки передач.
В случае ослабления их крепления, снимите карданный валы и затяните болты и гайки крепления фланцев.
Следующие причины могли привести к тому, что гидравлический насос не поднимает навесное оборудование:
- Он выключен;
- На рабочую кромку гнезда перепускного клапана попали посторонние частицы;
- Холодное масло.
Строй-Техника.ру
Строительные машины и оборудование, справочник
Категория:
Тракторы Кировец
Публикация:
Полужесткая муфта и редуктор привода насосов тракторов Кировец
Читать далее:
Коробка передач тракторов Кировец
Полужесткая муфта и редуктор привода насосов тракторов Кировец
Картер редуктора крепят к картеру маховика двигателя, а ведущий диск центрируют и крепят на маховике двигателя. Крутящий момент передается от маховика к фланцу через ведущий диск, амортизаторы, пальцы, ведомый диск, зубчатую муфту и вал. Одновременно часть крутящего момента передается от вала к гидронасосам через шестерни и шлицевые муфты. Масло подводится к редуктору от коробки передач через штуцер И с калиброванным отверстием диаметром 1,8…1,825 мм и отводится по сливной трубе. Муфта позволяет отключать двигатель от трансмиссии. Передаточное число привода к гидронасосам равно, и ведущие шестерни последних вращаются с той же частотой, что и коленчатый вал двигателя. Полость редуктора уплотнена со стороны полужесткой муфты резиновыми кольцами на ступице ведущего диска, маслосгон-ной резьбой на ступице ведомого диска, а со стороны фланца — самоподжимной резиновой манжетой, установленной в торцевой крышке.
К конструктивным особенностям полужесткой муфты и редуктора привода насосов относятся следующие:
 – механизм отключения двигателя от трансмиссии, состоит из выходного вала с наружными шлицами, ведомой зубчатой муфты с внутренними зубьями и соединительной муфты с внутренними шлицами и наружными зубьями, перемещаемой посредством рычага, валика и вилки;
 – компенсирующее устройство в приводе гидронасосов, состоит из наружной шлицевой втулки, средней плавающей муфты и внутренней муфты;
 – безманжетное уплотнение радиального кольцевого зазора между крышкой внутренней перегородки картера и ведомой зубчатой муфтой, выполнено путем уменьшения величины зазора, нарезания масло-сгонной резьбы на ступице муфты и проточки двух кольцевых канавок в крышке перегородки;
 – улучшено центрирование выходного вала благодаря установке левого шарикоподшипника внутрь ступицы ведущего диска, замены правого однорядного шарикоподшипника двухрядным сферическим и увеличению расстояния между опорными подшипниками выходного вала;
 – улучшено центрирование ведомой зубчатой муфты благодаря установке ее на ступицу ведущего диска.

Дополнительные материалы по теме:
Рис. 17. Полужесткая муфта и редуктор привода насосов:
1 — ведущий диск; 2 — ведомый диск; 3 — амортизатор; 4 — палец; 5, 6 и 9 – шлицевые втулки; 7 и 10 — шестерки; 8 — картер; 11 — штуцер; 12 — фланец; 13- вал; 14- труба; 15 – шарик; 16 — пружина; 17 — зубчатая муфта.
Полужесткая муфта трактора К-700 — постоянно замкнутая, то есть она не позволяет отключать двигатель от трансмиссии. Состоит из опорной крышки с подшипниковым узлом, ведущего диска, ведомого зубчатого венца, вала-шестерни и фланца. Опорную крышку крепят к картеру маховика, а ведущий диск — к маховику. Крутящий момент двигателя передается от ведущего диска к ведомому диску через резиновые амортизаторы и пальцы и далее к валу-шестерне и фланцу. На валу-шестерне установлена винтовая шестерня, которая находится в зацеплении с валиком привода тахоспидометра, установленном в опорной крышке.
Читать далее: Коробка передач тракторов Кировец
Категория:  —
Тракторы Кировец
Устройство анцапфы

Анзапфа трансформатора — это простое устройство в виде поворотного соединения, которое сопрягается с переключателем и обмоткой на высокой стороне. Коррекция проводится по двум направлениям: увеличением (уменьшением) и уменьшением (добавлением). Все это характеризуется законом физики Ома, который предполагает пропорциональную зависимость между сопротивлением и уровнем напряжения.
Чтобы понять, в каком положении трансформатор анцапф, необходимо посмотреть на легенду на паспортной табличке. Каждый шаг предполагает изменение на 2,5% в сторону уменьшения или увеличения. Пружинное устройство используется для поддержания стабильности контактного сопротивления.
Учтите, что со временем сопротивление изоляции может уменьшиться, поэтому устройство необходимо перемещать не реже 2 раз в год. Физические измерения обмоток следует проводить один раз в год с помощью мегомметра или другого устройства для обслуживания изоляции.
Назначение

ХТЗ Т-150К – один из немногих советских тракторов, который оказался настолько интересным иностранным заказчикам, что ему довелось принять участие в международных испытаниях на территории США. Машина разработана Харьковским тракторным заводом, и имела огромный потенциал для дальнейшего усовершенствования
Обратим внимание, что рассматриваемая модель имеет унифицированную конструкцию с гусеничным трактором Т-150. В машине использовано немало новаторских решений, но эта особенность не сказалась негативно на ремонтопригодности
Со временем эти инновационные разработки стали привычными. К тому же, унификация с гусеничной модификацией Т-150 позволила сократить затраты на производство запасных частей, и тем самым сделать трактор ремонтопригодным даже в полевых условиях. Основное предназначение машины – сельское хозяйство. В частности, машина распространена в таких операциях, как боронование, окучивание, вспашка, культивация, посев зерновых и овощных культур, предпосевная подготовка, обработка целинного грунта и другие задачи. Кроме того, данный трактор зарекомендовал себя в погрузке и выгрузке, буксировке тяжелых прицепов. В коммунальной сфере машина способна выполнять строительные и дорожно-монтажные работы. В свое время трактор Т-150К поставлялся во многие постсоветские страны. Машина получила несколько модернизированных версий, которые только усилили мировую популярность трактора.
Струйная защита бака РПН
Силовые трансформаторы 110 кВ обычно имеют встроенный регулятор напряжения под нагрузкой (РПН).
Устройство РПН расположено в отдельном отсеке бака трансформатора, изолированном от основного бака обмотками. Поэтому для этого устройства предусмотрено отдельное защитное устройство — реактивное реле.
Все повреждения внутри бака устройства РПН сопровождаются утечкой трансформаторного масла в расширитель, поэтому в случае протекания масла немедленно срабатывает защита струи, автоматически отключающая силовой трансформатор от сети.
Ремонт переключающих устройств (РПН трансформатора)
При ремонте переключающих устройств без возбуждения (ППБ) внимательно осмотрите все контактные соединения переключателя и отводов; определить герметичность контактов, проверив зазор между лопатками толщиномером; измерить переходное электрическое сопротивление.
Обратите особое внимание на состояние контактной поверхности. При наличии ожогов или расплавления устройство заменяется (в зависимости от характера или степени повреждения устройство иногда восстанавливают)
При наличии ожогов или расплавления устройство заменяется (в зависимости от характера или степени повреждения устройство иногда восстанавливают).
Для удаления налета, образовавшегося при работе в масле, контактная часть переключателя тщательно протирается технической тканью, смоченной ацетоном или бензином. Остальная часть устройства промывается чистым трансформаторным маслом.
При ремонте устройств переключения управления нагрузкой (РПН), помимо генеральной очистки, сушки и мытья наружных и внутренних поверхностей деталей и деталей устройства, контактных поверхностей ступенчатого переключателя, контакторов и электрической части механизма привод контролируются. Обгоревшие контакты селектора, главные контакты контактора и привода тщательно очищаются и проверяются на герметичность, после чего причина возгорания выявляется и устраняется.
Выход из строя привода выключателя может быть вызван попаданием влаги из-за плохой герметизации дверцы шкафа, а также из-за значительного люфта соединительных валов. Выявленные дефекты устранены. Со дна бака контактора удалите оставшийся осадок после слива масла, а также выполните другие работы согласно инструкции по эксплуатации устройства РПН.
Защита РПН
Для обеспечения нормальной работы устройства используется газовая защита. Выполнен дополнительный бак (расширитель), связанный с основной масляной средой трансформатора специальным каналом, в котором установлены реле и сигнальный элемент.
В случае небольшого газообразования предупреждающий элемент указывает на снижение уровня масла. В случае разрыва расширенное масло попадает в расширитель. Если пакетная скорость достигает установленного значения, реле срабатывает, отключая трансформатор. Таким образом, контакторы устройства РПН защищены от разрушения.
Преимущества и недостатки регулирования посредством РПН
Преимущества регулирования без отключения нагрузки в возможности поддерживать параметры сети на выходе трансформатора на определенном уровне при изменении характеристик подаваемого напряжения.
Кроме того, это устройство позволяет регулировать параметры с учетом необходимого значения.
Выполнение этих функций достигается без выключения устройства.
Недостатки связаны с необходимостью усложнения конструкции трансформатора, связанной с использованием дополнительных элементов.
При этом снижается надежность агрегата, увеличиваются его масса и габаритные размеры.
Технические характеристики

Мощный и маневренный колесный полноприводной трактор отличается весьма компактными габаритами в пределах 6,13 х 2,46 х 3,17 метра. Сухой вес машины — 8400 кг, база — 2,86 метра, колея -1,68/1,86 м. Дорожный клиренс гусеничного и колесного трактора соответственно 300 и 400 мм, радиус разворота в пределах 6,5 метра.
Шарнирный каркас полурамного типа выполнен из швеллеров и балочных поперечин, скрепленных массивными заклепками. В его передней части установлен силовой агрегат, подключенный к трансмиссии через механизм сцепления, коробку передач с раздаточным редуктором и карданные приводы. Поворот шарнирной рамы производится усилием 2-х гидроцилиндров.
- Разработчик – Харьковский тракторный завод
- Тип двигателя – ЯМЗ-236Д-3, дизельный шестицилиндровый V-образный
- Мощность – 165 лошадиных сил
- Номинальные обороты в минуту – 2100 об/мин
- Рабочий объем мотора – 11 литров
- Электрический стартер – есть
- Расход топлива – 220 г/кВт в час
- Коробка передач – механическая с 12 скоростями переднего хода
- Независимый вал отбора мощности – есть
- Режимы работы ВОМ – 500 и 1000 об/мин
- Тормоза – с пневмоприводом
- Колеса – одинарные или сдвоенные (в зависимости от модификации)
- Тип задней навески – трехточечная гидравлическая
- Грузоподъемность навески – 4500 кгс
- Объем колесной базы – 2860 мм
- Параметры колеи – 1680 и 1860 мм
- Размеры трактор, мм: Длина – 6130, Ширина – 2406, Высота – 3195
- Клиренс – 400 мм
- Масса трактора – 8200 кг
- Полный привод 4х4 – есть
- Радиус поворота – 6500 мм
- Максимальная скорость вперед – 30 км/час
- Максимальная скорость назад – 10 км/час.
Двигатель

Т-150 оснащались шестицилиндровым дизельным мотором с 150 лошадиными силами. На более поздних версиях мощность двигателя была увеличена до 180 л.с. Сейчас, потенциальным покупателям предлагается еще одна модификация трактора Т-150, с двигателем от ЯМЗ с 175 лошадиными силами.
Охлаждение мотора происходит при помощи воздуха, который перед этим проходит очистку при помощи циклонно-масляных фильтров. Для облегчения запуска в холодное время года, топливо предварительно нагревается при помощи ПЖБ-10.
- Мощность рабочего состояния 129 кВт.
- Количество совершаемых оборотов вала за минуту – 2100 раз.
- Габариты мотора 112 х 105 х 106 см.
- Собственная масса 1 тонна 35 кг.
Расход топлива
Расход горючего в режиме работы составляет 258 г/кВт-ч. Объем топливного бака первых моделей составлял 375 литров, в более поздних модификациях этот показатель был увеличен до 430 л.
Сжигание топлива при работе доходит до показателя в 28 литров за время в 1 рабочий час. Полного бака на 430 литров хватает для двенадцатичасовой рабочей смены агрегата и транспортировки до гаража.
Коробка передач

Эксплуатационные возможности Т-150 расширены за счет многодиапазонной коробки передач. Режимы рабочего, транспортного, замедленного и заднего хода имеют по четыре ступени. Максимальная транспортная скорость версии Т-150К — до 30 км/ч.
Сложность конструкция КПП многократно компенсируется:
- переключением пониженных и повышенных передач без разрыва мощности;
- гибкими тяговыми характеристиками;
- многорежимной активацией рабочих органов навесных агрегатов.
Текущий ремонт КПП возможен без демонтажа ее корпуса из трансмиссии. Конструкция силовой передачи предусматривает возможность отключения переднего моста.
Расположенная в центре рамы кабина ХТЗ 150-й модели, с 1913 года получила жесткий внутренний каркас, а также более эффективное отопление. В список штатного оборудования входит удобная рулевая колонка, регулируемое по весу и росту оператора сидение, вентилятор, подогрев переднего остекления и зеркала обзора задней полусферы.
Механическая трансмиссия трактора Т150 имеет ряд особенностей: При переключении передач не происходит разрыв перехода мощности (во время езды или эксплуатации); Регулируемые характеристики тяги; Поддержка необходимой скорости эксплуатации с соответствующим навесным оборудованием. Крутящий момент от КПП передается на раздаточную коробку, а оттуда ужа к мостам. На трансмиссии происходит отбор мощности для специального навесного оборудования, типа КЗК-10.
Гидравлическая система

На тракторе Т-150 установлена задняя сцепка третьего класса тяги, которая представляет собой шарнирный четырехзвенный трехточечный механизм.
Благодаря большой мощности двигателя эта машина предназначена для проведения тяжелых работ: вспашки большим плугом целинных земель, уборки улиц от снежного покрова, трелевки леса, буксировки застрявших машин и перевозки груженых прицепов.
Принцип работы гидравлической системы трактора
Самой распространенной считается навесная раздельноагрегатная гидравлическая система трактора. Компоновка ее узлов настроена на обеспечение максимально широкой работы гидроцилиндра, который называют еще исполнительным звеном.
Гидроцилиндр находится в четырех состояниях:
- движение поршня в одну сторону;
- движение поршня в обратную сторону;
- блокировка поршня из-за перекрытия поступления масла;
- свободное вращение поршня в две стороны при соединении обеих полостей гидроцилиндра внутри него и со сливной магистралью.
За выбор состояния отвечает распределитель, который принимает на себя поток масла под давлением. Если на тракторе установлено несколько независимых гидроцилиндров, то к каждому из них от распределителя идет свой привод. Чтобы защитить эту часть гидравлической системы от чрезмерного давления, ставится предохранительный клапан, выдерживающий 20,5 МПа.
Эффективность работы гидропривода зависит от насоса. Чаще всего это одно- или двухсекционные шестеренные узлы типа НШ. Они обеспечивают скорость вращения поршня. Промышленные тракторы и техника тяжелого класса оснащается регулируемыми или нерегулируемыми аксиально-поршневыми насосами. Масло в насос поступает через всасывающую магистраль из бака, дополнительно проходя фильтрацию от посторонних примесей.
Общий принцип действия гидросистемы трактора заключается в том, что под воздействием разрежения, создающегося при вращении шестерней, масло поступает в насос. Далее оно идет в нагнетательное отверстие, которое находится между корпусом и зубьями шестерней. Требуемое давление создается из-за разницы диаметров всасывающего и нагнетательного отверстий.
Нюансы изготовления гусеничного трактора
Самодельные гусеничные минитрактора – это техника, главной особенностью которой является высокая маневренность и хорошая проходимость. Также трактор на гусеницах создает минимальное давление на почву, чего нельзя сказать о его колесном аналоге.
Чтобы сделать минитрактор на гусеничном ходу, понадобятся следующие элементы конструкции.
- Рама. Изготавливается из профильной трубы или швеллера.
- Двигатель. Для гусеничного минитрактора лучше использовать дизельный двигатель.
- Ведущий мост. Как и при изготовлении колесного трактора, для гусеничного агрегата также можно использовать готовый мост от старого автомобиля, который следует укоротить.
- Коробка передач. Идеальным вариантом будет коробка от ГАЗ-53.
- Сцепление. Подойдет блок сцепления от ГАЗ-52.
- Гусеницы. Изготавливаются из покрышек от колес крупногабаритной техники, например, от трактора.
Для изготовления гусениц нужно взять 2 покрышки от трактора и срезать на них боковые части. Затем эти покрышки одеваются на колеса, установленные на раме, как показано на следующем фото.

Чтобы трактор мог поворачивать, на заднем мосту нужно установить дифференциал, который будет отключать правое или левое колесо от привода. Также каждое колесо должно быть оборудовано тормозом, управляемым по отдельности. При нажатии на педаль тормоза и переключении дифференциала одно колесо ведущего моста останавливается, а противоположное продолжает вращаться. За счет этого трактор разворачивается в нужном направлении.
Из чего сделать ходовую
Чтобы собрать минитрактор, требуется подготовить его ходовую часть. В нее входят колеса, передний и задний мосты, элементы трансмиссии.
При выборе колес для минитрактора следует учитывать цели использования последнего. Если агрегат сооружается для перевоза и перетягивания грузов, то будет достаточно диаметра дисков в 16 дюймов. При использовании трактора в полевых условиях лучше использовать более массивные колеса, имеющие диски с диаметром от 18 до 24 дюймов.
Если ведущим мостом в вашем тракторе будет только задний, то передняя балка изготавливается достаточно просто.
- Необходимо приготовить 2 поворотных кулака от автомобиля ВАЗ Классика.
- Из профильной трубы (квадрат 40х40 мм) отрезается необходимой длины кусок. От длины данной балки будет зависеть ширина колеи.
- Далее, к этой трубе привариваются стойки из уголков 35х35 мм. К ним будут крепиться поворотные кулаки. Рулевую сошку отсоединять не нужно — она пригодится при установке механизма рулевого управления.
- К уголкам привариваются кронштейны, в которые устанавливаются шаровые опоры.
- Передняя балка минитрактора также имеет по центру качающий механизм. В данном случае он вместе с крестовиной снят из автомобиля УАЗ.
Чтобы изготовить самодельный передний мост, а также задний его аналог для полноприводного агрегата, потребуется взять 2 одинаковых узла ходовой части, например, от автомобиля ВАЗ или Москвич, и укоротить их. Как укоротить мост от автомобиля ВАЗ, можно узнать из этого видео.
Поскольку мосты уже имеют встроенный механизм передачи вращательного движения на ось колес, то изготавливать самодельный редуктор не потребуется.
Что такое анцапфа: определение и назначение
Трансформатор анзапфа — это выключатель холостого хода, расположенный на стороне высокого напряжения. Он направлен на корректировку коэффициента трансформации. В простом смысле процесс включает в себя изменение количества витков в обмотке, что, согласно физическим законам, корректирует значение напряжения.
Этот элемент позволяет изменять уровень напряжения на +/- 10%. Уровень зависит от мощности силового оборудования, его технических характеристик. Регулировка конденсаторов трансформатора 10 / 0,4 кВ проводится только с оборудованием, снятым в ремонт (переключение без возбуждения).
Регулировка не может быть произведена в любое удобное время, так как для этого необходимо, чтобы абоненты были обесточены. Поэтому на мощных трансформаторах напряжением 110 кВ и выше используется другое устройство, называемое устройством РПН.
Регулировка напряжения под нагрузкой считается улучшенным анзапфом, позволяющим изменять количество оборотов без выключения. Для удобства наблюдения за режимами диспетчерским персоналом устройство РПН интегрировано с телемеханикой.
Изготовление трехточечной навески
Навеска используется для подсоединения к трактору дополнительного оборудования, например, плуга.

Навеска должна быть подвижной как в горизонтальной плоскости, так и в вертикальной. В первом случае подвижность помогает уменьшить вылет насадки при подруливании. Вертикальное движение подвески требуется для опускания оборудования в рабочее состояние или поднятия его в позицию транспортировки.
Навеска на минитрактор делается из различных деталей, снятых из старой сельхозтехники. Сделать описание того, как изготовить трехточечную навеску в домашних условиях, достаточно сложно. Поэтому правильнее будет воспользоваться следующим видео, в котором указаны размеры всех деталей приспособления.
Преимущества и недостатки

Из плюсов выделяются такие пункты:
- Работа на твердом грунте – на магистральной дороге с покрытием из асфальта.
- К трактору подключается большое количество дополнительных сельхозмашин.
- Удобный конструктив кабины.
Отрицательны черты:
- Слишком высокое давление на грунт. Если трактор ХТЗ 150 забуксовал в грунте – при выезде, он оказывает тройное давление на грунт.
- При работе на мокром грунте возрастает расход на 10-15 процентов, уменьшается рабочая производитель.
 ` reviewsOverall ` / 5
    Пользователей
    (1 Оценка)
	 
Надежность
Удобство и комфорт
Ремонтопригодность
Ходовые качества
Количество отзывов
    	Сортировать по:
    	Самые последниеНаивысший баллНаиболее полезноХудшая оценка
Будьте первым, чтобы оставить отзыв.
Проверенный отзыв
{` review`.`rating_title `}
Показать еще
{{ pageNumber+1 }}
Навесное оборудование
Навесное оборудование является незаменимой составляющей производственных процессов и специализации тракторного шасси. Для его установки на трубчатой раме Т-16 предусмотрены специальные отверстия и платформы. Благодаря возможности использования практически всех существующих видов навески позволяет расширить функционал машины до максимума.
На трактор Т-16 устанавливаются следующие виды навесного оборудования:
- Различные виды плугов, сеялок и культиваторов.
- Картофелеобработчики – сажалки и копалки.
- Оборудование экскаваторного назначения.
- Механизмы, используемые для заготовки кормов (сенокосилки и др.).
- Транспортные прицепы и платформы.
ВНИМАНИЕ! Навесное оборудование не поставляется в стандартном заводском комплекте — обычно оно приобретается отдельно, в зависимости от нужд потребителя.
Устройство
Главная особенность конструкции шасси Т-16 – расположение двигателя позади кабины, а в передней части рамы – креплений для навешивания рабочего оборудования, которым в стандартной комплектации является транспортная платформа самосвального типа.
Двигатель
Трактор оснащен 16-сильным двигателем марки Д-16 – дизельным, двухцилиндровым, четырехтактным, воздушного охлаждения со следующими техническими особенностями:
- Наличием в головке цилиндров предкамеры для смесеобразования, объем которой составляет от общей камеры сгорания около 35 %.
- Полным набором необходимых для повышенной эффективности работы составляющих:
- кривошипно-шатунным механизмом;
- устройством газораспределения;
- системами смазки и питания.
 
- Использованием в качестве остова картера с креплением к нему алюминиевой крышки распределительных шестерен с сапуном и маслозаливной горловиной.
- Несколькими валами для отбора мощностей, стандартно основным и синхронным.
Пуск двигателя осуществляется с помощью действия стартерной пусковой системы либо посредством буксировки – так называемого «пускача» у этой модели нет.

Трансмиссия
Т-16 имеет две пары разновеликих колес – маленькие передние и большого размера задние, устройство крепления которых позволяет изменять для обеих пар ширину колеи с функцией смещения центра тяжести на задней оси.
ИНТЕРЕСНО! Благодаря способности тракторного шасси менять взаимное расположение колес с его помощью возможна детальная обработка сельхознасаждений – прополка, опрыскивание от вредителей, окучивание и т.п.
Силовая передача к ходовым деталям осуществляется механической трансмиссионной системой, расположенной аналогично двигателю сзади и включающей следующие элементы:
- Постоянно замкнутое сцепление, однодисковое фрикционного типа.
- 7-ступенчатую механическую коробку передач, состоящую из прямозубых шестерен.
- Ленточные сухие тормоза, приводимые в действие механическим приводом.
Гидравлика
Гидравлическая система тракторного шасси оборудована двумя силовыми цилиндрами выносного типа. Они управляются специальным гидрораспределителем, позволяющим:
- Эффективно переключать потоки рабочей жидкости.
- Предохранять всю систему от возможных перегрузок.
Для него характерны 4 положения составляющих золотников – «нейтральное», «плавающее», «опуск» и «подъем», отличающиеся положением поршня и способом поступления в гидравлику масла.
Электрооборудование
Стандартный набор электрооборудования включает устройства, работающие под напряжением 12 В:
- Пусковой стартер;
- Временное реле;
- Аккумуляторный блок;
- Собственный генератор.
Именно благодаря наличию собственного генератора тока для этой модели трактора возможно подключение таких отдельных агрегатов, как циркулярные пилы, сварочные аппараты и т.п.
Рулевое управление
Удобство действия рулевой заключается в управлении посредством гидравлики, что значительно облегчает работу оператора, не требуя больших усилий для поворота руля.
Рулевая колонка Т-16 составлена из следующих элементов:
- Карданного вала, опирающегося на радиальный подшипник.
- Стопорного кольца.
- Шарнирного соединения с рулевым колесом.
Гидрообъемное управление рулем не предполагает наличия механической связи между управляемыми колесами и рулевым колесом, включая шестеренный насос, насос-дозатор и гидроцилиндр, имеющий двустороннее действие.

Кабина
Самые первые модели типа Т-16 выпускались без кабины, имея только открытое кресло оператора. Более современные модификации оборудованы комфортабельными кабинами, которые не только увеличивают удобство работы в различную погоду, но также делают ее намного более безопасной.
Для нее характерны отличный обзор и удобное размещение всех управляющих приборов и систем.
Как сделать кабину для минитрактора
Если в летний период работать на минитракторе можно и без кабины, то с наступлением осенне-зимнего периода использование агрегата становится довольно некомфортным или вообще невозможным. Поэтому умельцы стараются собирать трактора с кабинами, чтобы использовать данную технику круглый год.
Кабину для самодельной техники изготавливают из листовой стали по заранее подготовленному чертежу. За основу расчетов можно взять кабину от трактора МТЗ. На следующем фото показан чертеж, исходя из которого, можно сделать кабину самостоятельно.

Совет! Если размеры кабины, имеющиеся на чертеже, не подходят под размеры вашего минитрактора, то их необходимо изменить. Но главное, что нужно учитывать при коррекции размеров — это размер лобового стекла и высоту кабины. Потолок ее должен быть выше головы сидящего в кабине человека на 25 см.
Кабина изготавливается следующим образом.
- Первым делом, нужно собрать каркас из деревянных брусков согласно размерам чертежа.
- Далее, по размерам деревянных деталей каркаса режут металлическую профильную трубу. Все детали соединяют методом сварки.
- Сваренную конструкцию ставят крышей на землю и приваривают внутри кабины держатели для стекол.
- Крыша изготавливается из листовой стали 1 мм. Фрагмент можно вырезать болгаркой и приварить к верхней части кабины.
- Пол и боковые части кабины изготавливаются из листовой стали толщиной 2 мм.
- Каркас дверей также сваривается из профильной трубы. Для автоматического закрывания дверей на каркас можно установить газовые лифты.
- После установки стекол кабину можно обшить изнутри поролоном и обтянуть его кожзаменителем.
- Кабина устанавливается на раму, на заранее приготовленное для нее место.
В целом, чтобы лучше понять, как изготавливается минитрактор своими руками, можно посмотреть это видео, своеобразное пособие для начинающих.
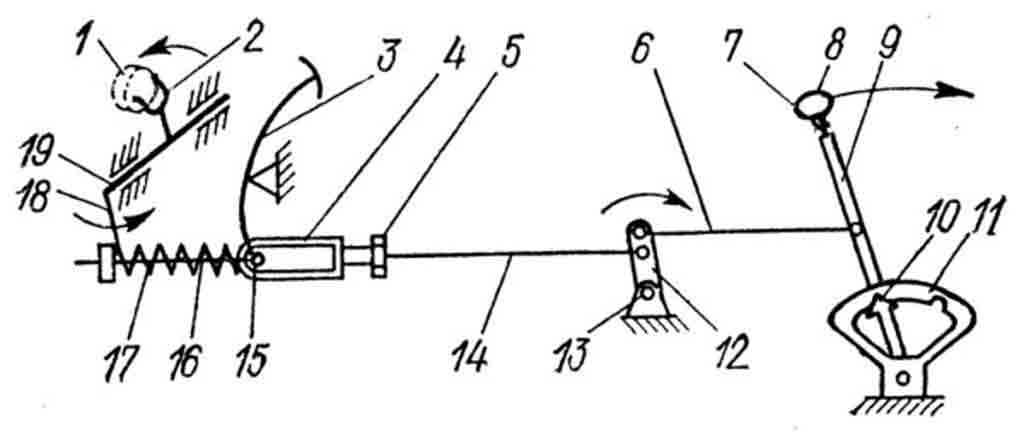
Дополнительный привод управления сцеплением

Принципиальная схема дополнительной механической системы управления механизмом сцепления на автоцистерне
1 – выжимной подшипник; 2 – вилка; 3 – педаль; 4 – муфта; 5 – контргайка; 6 – малая тяга; 7 – стержень; 8 – кнопка; 9, 12, 18 – рычаги; 10 – защёлка; 11 – зубчатый сектор; 13 – промежуточная опора; 14 – большая тяга; 15 – ось; 16 – промежуточная тяга; 17 – пружина; 19 – валик
Дополнительная система управления механизмом сцепления предназначена для отключения (включения) пожарного насоса от двигателя шасси. На рисунке показана принципиальная схема механической дополнительной системы управления сцеплением пожарной автоцистерны (применялась на АЦ моделей 63Б и 137А ранних выпусков, ПМ-548 и ряде других).
В насосном отделении пожарного автомобиля установлен рычаг 9 сцепления и зубчатый сектор 11. Для выключения сцепления необходимо нажать пальцем на кнопку 8, которая через стержень 7 выведет из зацепления с зубчатым сектором защёлку 10, а рычаг сцепления перевести в положение «на себя» и зафиксировать его в крайнем заднем положении (по направлению стрелки). При этом переместится малая тяга 6, поворачивая рычаг 12 промежуточной опоры 13 с одновременным перемещением большой тяги 14, на которую навёрнута муфта 4 с прорезью. Далее муфта воздействует через ось 15 педали сцепления и промежуточную тягу 16 на рычаг 18 валика 19 сцепления. Вилка 2 валика действует на выжимной подшипник 1, обеспечивая выключение сцепления. При нажатии в кабине водителя на педаль 3 сцепления нижняя её ось свободно перемещается по прорези муфты 4, не воздействуя на систему тяг дополнительной системы управления сцеплением. Возвращение педали сцепления в исходное положение происходит под действием возвратной пружины 17. Свободный ход педали сцепления регулируют изменением положения муфты 4, установленной на промежуточной тяге. Величина свободного хода педали сцепления должна соответствовать нижнему пределу диапазона, установленного заводом изготовителем шасси. Например, если на автомобиле ЗиЛ-131 величина свободного хода составляет 35…50 мм, то для автоцистерны на этом шасси следует выставить величину свободного хода 35-40 мм (не более). При большей величине свободного хода из-за неизбежных люфтов привода будет происходить неполное выключение сцепления.
Для регулировки длины тяг системы управления сцеплением необходимо рычаг сцепления в насосном отделении поставить в крайнее переднее фиксированное положение, освободить контргайку 5 большой тяги и вращением муфты 4 установить требуемую длину тяг. При переводе рычага сцепления в крайнее заднее положение добиться такого положения, чтобы при нажатии на педаль сцепления её свободный ход был в пределах требуемой величины. При переводе рычага сцепления в крайнее заднее фиксированное положение сцепление должно быть полностью выключено так, чтобы при работающем двигателе и включённой КОМ карданный вал к насосу не вращался. По окончания регулировки контргайки затянуть.
Вывод по вопросу: для удобства работы на пожарных автомобилях предусмотрен дополнительный привод сцепления.
Диапазон регулирования
ЭДС, создаваемая линейным регулятором, зависит от:
- от величины питающего напряжения;
- от фазы питающего напряжения;
- от коэффициента трансформации линейного регулятора.
Включая первичную обмотку силового трансформатора в разные фазы сети, можно получить разные напряжения на выходе регулятора. В линейном регуляторе осуществляется поэтапное управление. Есть продольные, поперечные и поперечные продольные регулировки.
При продольном регулировании дополнительная ЭДС линейного регулятора ∆E совпадает по фазе с фазными напряжениями сети. Этот тип элемента управления также называется элементом управления формы.
При поперечной регулировке ЭДС силового трансформатора и дополнительная ЭДС сдвигаются на 90º. Этот сдвиг можно получить, если, например, для регулирования напряжения в фазе A включить обмотку питающего трансформатора на сетевое напряжение BC. В этом случае результирующая ЭДС обмотки силового трансформатора и вторичной обмотки последовательного трансформатора меняют фазу. Поэтому этот тип управления еще называют фазовым. Продольно-поперечная регулировка позволяет регулировать начальное натяжение как по модулю, так и по фазе. Его можно выполнять для регулирования напряжения в фазе А при включении первичной обмотки силового трансформатора при линейном напряжении АВ. В этом случае дополнительная несущая ЭДС будет направлена по линейным напряжениям.
Линейные регуляторы с продольной регулировкой позволяют регулировать напряжения на проблемном участке протяженной сети или при отсутствии РПН на трансформаторе.
Линейные регуляторы с поперечной или продольно-поперечной регулировкой выполняют более узкие функции. С их помощью улучшились условия работы гетерогенных закрытых сетей.

 
            
![Задний распределительный редуктор  [1969 максимецев в.а. - тепловоз 2 тэ10л. руководство по эксплуатации и обслуживании]](http://okz-rybinsk.ru/wp-content/uploads/f/c/4/fc4b6e9ed8491549bf537b8466978822.png)






















